江苏欧美肥婆姓交大片如何节水创新
日期:2020-01-22 来源:江苏华塔 人气:
欧美肥婆姓交大片如何做到节水,可以从多种途径进行创新,可以减少蒸发量,可以减少排污量,同时可以采用干湿混合冷却。今天江苏华塔小卫跟大家分享一种新型复合流冷却塔喷淋系统,如何提高蒸发效率从而达到节水的效果。
欧美肥婆姓交大片的工作原理是将工作流体(纯水或其他液体)在欧美肥婆姓交大片的盘管中循环,工作流体的热量通过盘管散入到流过盘管外表面的喷淋水中。同时机组外的空气从底盘上的进风格栅进入,与水的流动方向相反,向上流经盘管一小部分水蒸发而吸走热量,热湿空气由冷却塔顶部的通风机排除到大气中。其余的喷淋水落入底部水盘,由喷淋泵再循环至水分布系统又回淋到盘管上。

冷却塔的喷淋系统是欧美肥婆姓交大片的重要组成部件,目前喷淋系统多采用喷淋直管与进水口连接的方式,该喷淋系统存在前端喷淋水流量大,后端喷淋水流量小,喷水不均匀,冷却效果不佳的问题。
为实现上述目的,本实用新型提供一种新型复合流冷却塔喷淋系统,包括进水口和喷淋管路,其特征在于,所述喷淋管路包含喷淋直管、第一喷淋回路和第二喷淋回路,喷淋直管的后端、第一喷淋回路和第二喷淋回路之间采用四通管件和三通管件组合连接,所述进水口、喷淋直管的前端、第一喷淋回路和第二喷淋回路之间采用两组四通管件连接。
其中,第一喷淋回路、第二喷淋回路的拐角处采用90°弯头连接。
其中,喷淋直管、第一喷淋回路和第二喷淋回路上均匀的设置有喷头。
与现有技术相比,本实用新型具有如下有益效果:
该新型复合流冷却塔喷淋系统采用双环路设计,喷淋水的水流由前端的四通管件分流向后流动,水流到后端以后通过后端的三通管件反向逆流,这样后端的水流压力下降不至于过大,从而使整个喷淋系统的前后端水流量均匀。

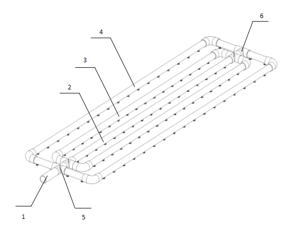
如图1-2所示,一种新型复合流冷却塔喷淋系统,包括进水口1和喷淋管路,其中喷淋管路包含喷淋直管2、第一喷淋回路3和第二喷淋回路4,喷淋直管2的后端、第一喷淋回路3和第二喷淋回路4之间采用四通管件5和三通管件6组合连接,所述进水口1、喷淋直管2的前端、第一喷淋回路3和第二喷淋回路4之间采用两组四通管件5连接。
其中,第一喷淋回路3以及第二喷淋回路4的拐角处都采用90°弯头连接。喷淋直管2、第一喷淋回路3和第二喷淋回路4上均匀的设置有喷头。
该冷却塔的喷淋系统工作时,喷淋水的水流由前端的四通管件5分流向后流动,水流到后端以后通过后端的三通管件6反向逆流,这样后端的水流压力下降不至于过大,从而使整个喷淋系统的前后端水流量均匀。
江苏华塔拥有HBY型横流欧美肥婆姓交大片实用新型专利23项,发明专利2项,著作权3项,HBY型企业标准Q/320211HTLQ01-2016。专业的研发团队需要一流的试验测试中心才能如虎添翼,公司于2016年建成了CTI标准冷却塔试验测试中心,可检测单台流量为500M3/H的欧美肥婆姓交大片。公司不断提高测试装备的自动化和数字化水平,为冷却塔的设计和新产品的开发提供更真实、可靠的依据,使华塔冷却塔综合性能始终处于较高的水平。